Cargando...
Las plantas de potencia termosolar concentrada (Concentrating Solar Power) generan electricidad mediante la concentración de calor solar y las tecnologías actualemnte instaladas a nivel mundial son Fresnel, canal parabólico, torre central y plato parabólico.
Un desarrollo propuesto por el National Renewable Energy Laboratory (NREL) es un ciclo Baryton de circuito cerrado con turbomauinaria de doble flecha.
Esta propuesta utiliza una torre modular con un pequeño campo de helióstatos.
Dimensiones de la sección de compresión (turbina/compresor) vs potencia (Fuente: NREL)
(kW) |
(m) |
(kg/s) |
|
|---|---|---|---|
| 0.3 | 0.04 | 125,000 | 3.5 |
| 3 | 0.15 | 50,000 | 35 |
| 300 | 1.5 | 3,600 | 3500 |

Una unidad modular de generación eléctrica más almacenamiento térmico (TES) puede reducir la variabilidad de generación de potencia, debido a la variabilidad de las condiciones ambientales.
La flexibilidad del sistema permite los modos de operación suguientes:
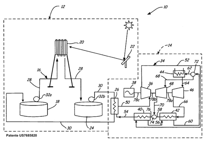
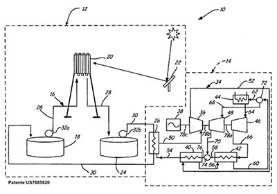
En plantas de potencia de torre central se pueden alcanzar temperaturas tan altas en el rango de los 640ºC. Estas temperaturas favorecen la eficiencia térmica de un ciclo Brayton de CO2 supercrítico. El uso de sales fundidas, tanto para enfriar el receptor como para transferir el calor al CO2 se ven atractivos.
Fuente: Ma Z., Turchi C. S., National Renewable Energy Laboratory, May 24-25, 2011. Patente: US2012/0216536A1.
Fuente: Ma Z., Turchi C. S., National Renewable Energy Laboratory, May 24-25, 2011. Patente: US2012/0216536A1.
Fuente: Patente US7685820B2.
Fuente: Patente US7685820B2.
Fuente: Prof Tech Servicios (2019).